Product Summary
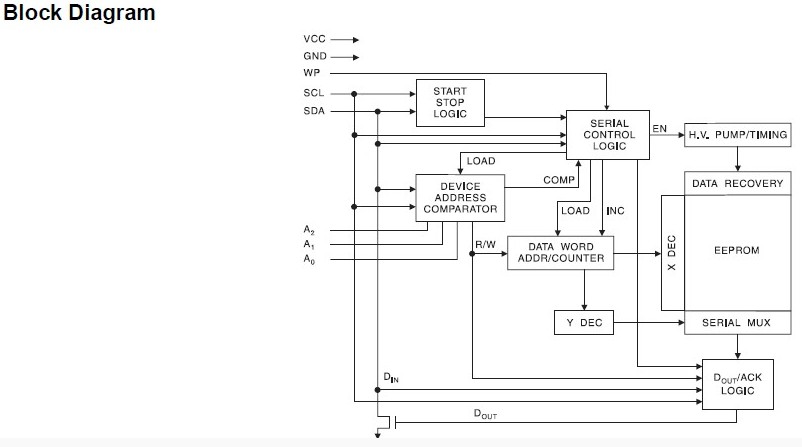
The AT24C02 is a 2-Wire Bus Serial EEPROM which provides 2048 bits of serial electrically erasable and programmable read-only memory (EEPROM) organized as 256 words of 8 bits each. The device is optimized for use in many industrial and commercial applications where low-power and low-voltage operation are essential. The AT24C02 is available in space-saving 5-lead SOT23 package and is accessed via a 2-wire serial interface.
Parametrics
AT24C02 absolute maximum ratings: (1)Operating Temperature: -55℃ to +125℃; (2)Storage Temperature: -65℃ to +150℃; (3)Voltage on Any Pin with Respect to Ground: -1.0V to +7.0V; (4)Maximum Operating Voltage: 6.25V; (5)DC Output Current: 5.0mA.
Features
AT24C02 features: (1)Low-voltage and Standard-voltage Operation: 2.7 (VCC = 2.7V to 5.5V); 1.8 (VCC = 1.8V to 5.5V); (2)Internally Organized 128 x 8 (1K), 256 x 8 (2K), 512 x 8 (4K), 1024 x 8 (8K) or 2048 x 8 (16K); (3)2-wire Serial Interface; (4)Schmitt Trigger, Filtered Inputs for Noise Suppression; (5)Bi-directional Data Transfer Protocol; (6)100 kHz (1.8V) and 400 kHz (2.5V, 2.7V, 5V) Compatibility; (7)Write Protect Pin for Hardware Data Protection; (8)8-byte Page (1K, 2K), 16-byte Page (4K, 8K, 16K) Write Modes; (9)Partial Page Writes are Allowed; (10)Self-timed Write Cycle (5 ms max); (11)High-reliability; (12)Endurance: 1 Million Write Cycles; (13)Data Retention: 100 Years; (14)Automotive Grade, Extended Temperature and Lead-free/Halogen-free Devices Available; (15)8-lead PDIP, 8-lead JEDEC SOIC, 8-lead MAP, 5-lead SOT23, 8-lead TSSOP and 8-ball dBGA2Packages.
Diagrams

| Image | Part No | Mfg | Description | ![]() |
Pricing (USD) |
Quantity | ||||
|---|---|---|---|---|---|---|---|---|---|---|
![]() |
![]() AT24C02 |
![]() Other |
![]() |
![]() Data Sheet |
![]() Negotiable |
|
||||
![]() |
![]() AT24C02-10MI-2.5 |
![]() Atmel |
![]() EEPROM 2k 2-Wire Bus |
![]() Data Sheet |
![]() Negotiable |
|
||||
![]() |
![]() AT24C02-10PC-2.7 |
![]() Atmel |
![]() EEPROM DIP-8 2K (256X8) 2.7 |
![]() Data Sheet |
![]() Negotiable |
|
||||
![]() |
![]() AT24C02-10PC |
![]() Atmel |
![]() EEPROM 2k 2-Wire Bus |
![]() Data Sheet |
![]() Negotiable |
|
||||
![]() |
![]() AT24C02-10PC-1.8 |
![]() Atmel |
![]() IC SEEPROM 2K 1.8V 8DIP |
![]() Data Sheet |
![]() Negotiable |
|
||||
![]() |
![]() AT24C02-10PC-2.5 |
![]() Atmel |
![]() IC SEEPROM 2K 2.5V 8DIP |
![]() Data Sheet |
![]() Negotiable |
|
||||
![]() |
![]() AT24C02-10PI |
![]() Atmel |
![]() EEPROM 2k 2-Wire Bus |
![]() Data Sheet |
![]() Negotiable |
|
||||
![]() |
![]() AT24C02-10TC-1.8 |
![]() Atmel |
![]() EEPROM 2k 2-Wire Bus |
![]() Data Sheet |
![]() Negotiable |
|
||||
(China (Mainland))












