Product Summary
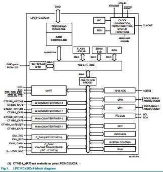
The LPC11C14FBD48 is an ARM Cortex-M0 based, low-cost 32-bit MCU, designed for 8/16-bit microcontroller applications, offering performance, low power, simple instruction set and memory addressing together with reduced code size compared to existing 8/16-bit architectures. The LPC11C14FBD48 operates at CPU frequencies of up to 50 MHz. The peripheral complement of the device includes 32 kB of flash memory, 8 kB of data memory, one C_CAN controller, one Fast-mode Plus I2C-bus interface, one RS-485/EIA-485 UART, two SPI interfaces with SSP features, four general purpose counter/timers, a 10-bit ADC, and up to 40 general purpose I/O pins. The applications of the LPC11C14FBD48 include eMetering, Industrial and sensor based networks, Elevator systems, White goods.
Parametrics
LPC11C14FBD48 absolute maximum ratings: (1)supply voltage (core and external rail), VDD: 1.8 to 3.6 V; (2)input voltage, VI: -0.5 to +5.5 V; (3)supply current per supply pin, IDD: 100mA; (4)ground current per ground pin, ISS: 100mA; (5)I/O latch-up current, Ilatch: 100mA; (6)storage temperature, Tstg: -65 to +150℃; (7)maximum junction temperature, Tj(max): 150℃; (8)total power dissipation (per package), Ptot(pack): -1.5W; (9)electrostatic discharge voltage, VESD: -6500 to +6500 V.
Features
LPC11C14FBD48 features: (1)ARM Cortex-M0 processor, running at frequencies of up to 50 MHz ; (2)ARM Cortex-M0 built-in Nested Vectored Interrupt Controller (NVIC); (3)Serial Wire Debug; (4)System tick timer; (5)32 kB (LPC11Cx4) or 16 kB (LPC11Cx2) on-chip flash program memory; (6)8 kB SRAM data memory; (7)In-System Programming (ISP) and In-Application Programming (IAP) via on-chip bootloader software; (8)Flash ISP commands can be issued via UART or C_CAN General Purpose I/O (GPIO) pins with configurable pull-up/pull-down resistors; (9)40 GPIO pins on the LPC11C12/C14 parts; 36 GPIO pins on the LPC11C22/C24 parts; (10)GPIO pins can be used as edge and level sensitive interrupt sources; (11)High-current output driver (20 mA) on one pin; (12)High-current sink drivers (20 mA) on two I2C-bus pins in Fast-mode Plus; (13)Four general purpose counter/timers with a total of four capture inputs and 13 (LPC11C12/C14) or 12 (LPC11C22/C24) match outputs; (14)Programmable WatchDog Timer (WDT).
Diagrams

| Image | Part No | Mfg | Description | ![]() |
Pricing (USD) |
Quantity | ||||||||||||
|---|---|---|---|---|---|---|---|---|---|---|---|---|---|---|---|---|---|---|
![]() |
![]() LPC11C14FBD48/301 |
![]() NXP Semiconductors |
![]() ARM Microcontrollers (MCU) 32-bit Cortex M0 32KB 8K RAM CAN |
![]() Data Sheet |
![]() Negotiable |
|
||||||||||||
![]() |
![]() LPC11C14FBD48/301, |
![]() NXP Semiconductors |
![]() ARM Microcontrollers (MCU) 32-bit Cortex M0 32KB 8K RAM CAN |
![]() Data Sheet |
![]()
|
|
||||||||||||
(China (Mainland))









