Product Summary
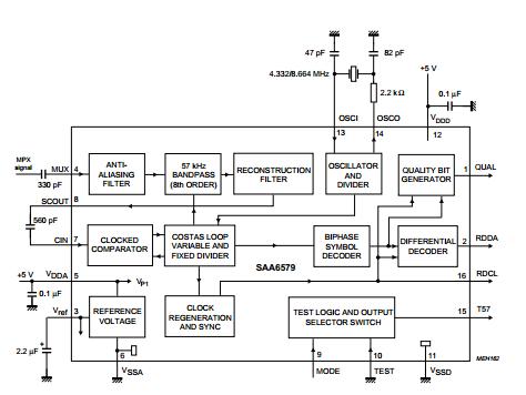
The SAA6579 is a Radio Data System demodulator. It recovers the additional inaudible RDS information which is transmitted by FM radio broadcasting. The data signal RDDA and the clock signal RDCL are provided as outputs for further processing by a suitable decoder (microcomputer). The operational functions of the device are in accordance with the“CENELEC EN 50067”.
Parametrics
SAA6579 absolute maximum ratings: (1)analog supply voltage, VDDA: 0 to 6 V; (2)digital supply voltage, VDDD: 0 to 6 V; (3)voltage on all pins; grounds excluded, Vn: -0.5 to VDDX +0.5 V; (4)storage temperature, Tstg: -40 to +150℃; (5)operating ambient temperature, Tamb: -40 to +85℃; (6)electrostatic handling for all pins except pins 9 and 10, Ves: ±300V; Ves: +1500 to -3000 V.
Features
SAA6579 features: (1)Anti-aliasing filter (2nd order); (2)Integrated 57 kHz band-pass filter (8th order); (3)Reconstruction filter (2nd order); (4)Clocked comparator with automatic offset compensation; (5)57 kHz carrier regeneration; (6)Synchronous demodulator for 57 kHz modulated RDS signals; (7)Selectable 4.332/8.664 MHz crystal oscillator with variable dividers; (8)Clock regeneration with lock on biphase data rate; (9)Biphase symbol decoder with integrate and dump functions; (10)Differential decoder; (11)Signal quality detector; (12)Subcarrier output.
Diagrams

| Image | Part No | Mfg | Description | ![]() |
Pricing (USD) |
Quantity | ||||||||||||
|---|---|---|---|---|---|---|---|---|---|---|---|---|---|---|---|---|---|---|
![]() |
![]() SAA6579 |
![]() Other |
![]() |
![]() Data Sheet |
![]() Negotiable |
|
||||||||||||
![]() |
![]() SAA6579/V1,112 |
![]() NXP Semiconductors |
![]() Modulator / Demodulator RADIO DATA SYSTEMS |
![]() Data Sheet |
![]() Negotiable |
|
||||||||||||
![]() |
![]() SAA6579N |
![]() NXP Semiconductors |
![]() Audio Amplifiers RADIO DATA SYSTEMS DEMODULATOR |
![]() Data Sheet |
![]() Negotiable |
|
||||||||||||
![]() |
![]() SAA6579T/V1,518 |
![]() NXP Semiconductors |
![]() Audio Amplifiers RADIO DATA SYSTEMS |
![]() Data Sheet |
![]()
|
|
||||||||||||
![]() |
![]() SAA6579TD-T |
![]() NXP Semiconductors |
![]() Audio Amplifiers RADIO DATA SYSTEMS DEMODULATOR |
![]() Data Sheet |
![]() Negotiable |
|
||||||||||||
![]() |
![]() SAA6579TD |
![]() NXP Semiconductors |
![]() Audio Amplifiers RADIO DATA SYSTEMS DEMODULATOR |
![]() Data Sheet |
![]() Negotiable |
|
||||||||||||
![]() |
![]() SAA6579T/V1,512 |
![]() NXP Semiconductors |
![]() Audio Amplifiers RADIO DATA SYSTEMS |
![]() Data Sheet |
![]()
|
|
||||||||||||
(China (Mainland))










